
[비즈월드] 신기술은 제도권의 보장을 받는 특허로 등록받지 못했더라도 독창적이고 기발한 아이디어로 우리의 삶에 도움을 주고 각종 산업현장에서 생산력 향상에 도움을 주는 것이어야 한다.
물론 거창하지는 않아도 기준 기술의 부족했던 부분을 개선하는 방법을 제시하는 것도 신기술, 특히 특허로서의 가치를 인정받게 된다. 문제는 이런 생각을 구체화해 일정한 요건을 갖추고 공식적으로 값어치를 인정받느냐인 것이다.
최근 우리나라의 경우 동남아시아 일부 국가에서나 볼 수 있었던 지역에 따라 집중적으로 비가 내리는 아열대성 스콜 형태의 호우성 소나기를 많이 겪게 된다.
여름철 뜨거운 햇볕에 한바탕 소나기가 휩쓸고 가면 시원하다는 느낌보다는 높아진 습도에 불쾌감이 더 든다.
이때 집이나 사무실 등 실내에서 높은 습도를 낮춰주는 것이 바로 제습기이다. 제습기의 기본적인 원리는 실내공기를 흡입하고, 흡입한 공기의 습기를 응결시켜 공기와 습기를 분리시킴으로써 공기 중의 습도를 낮춘다.
그런데 제습기를 사용하다보면 가장 불편하다고 느끼는 것이 바로 집안의 습기를 빨아들여 물방울 형태로 응결시켜 보관하는 수조를 비우는 것이다. 고정형의 경우 별도의 배수시설과 연결돼 이용할 수 있지만 소형 이동식의 경우 사용자가 가장 개선되기를 희망하는 부분이기도 하다.
제습기의 수조는 제습기의 하부에 장착되며 서랍 방식으로 인출된다. 따라서 수조에 물이 채워지면 사용자는 수조를 제습기의 전방으로 인출해 수조의 물을 비울 수 있도록 디자인된 것이 일반적이다.
그런데 수조의 상당한 양의 물이 저장되면 수조가 무거워져 수조를 빼내는 데 힘이 들게 된다.
또 미관 및 제조상의 문제로 인해 대부분의 수조에는 충분한 저장 공간이 제공되지 않아 수조에 물이 가득 차거나 수조의 표면에 물이 묻은 경우에는 수조의 인출이 매우 어렵게 된다.

이런 가운데 코웨이가 이런 과거의 단점을 보완하는 신기술을 선보여 특허를 등록받은 것으로 나타났다.
일반적으로 특허의 경우 출원 후 등록까지 1년6개월 정도 소요되는데 해당 특허는 무려 출원 7년 만에 특허를 받는 데 성공했다.
가장 큰 이유는 코웨이가 심사 청구 자체를 늦게 요청했기 때문이다. 코웨이는 해당 특허출원 후 5년 만인 2018년 12월 5일에서야 등록을 위한 심사를 청구했다.
통상 제조회사의 경우 특허를 출원해 등록을 받는 과정 중간에 해당 기술을 이미 적용한 제품을 출시해 판매하기도 한다.
해당 특허도 마찬가지로 코웨이에서 상용화한 후 늦게 특허 등록을 요청한 것으로 추정된다.
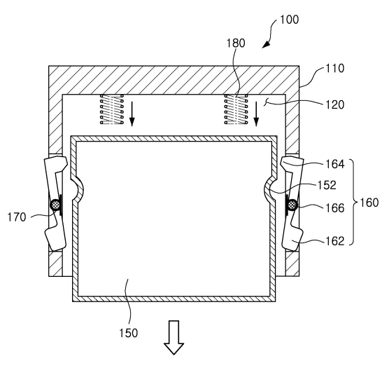
이 특허는 2013년 12월 30일 출원(출원번호 제1020130166612호)해 지난 7월 23일 등록(등록번호 제102283317호)을 받은 ‘제습기’라는 명칭이다.
이 발명에 대해 코웨이 연구진 특허 공보에 “본 발명의 일 실시예에 의한 제습기는, 냉동사이클 기관을 내부에 수용하는 제습기 본체; 상기 제습기 본체의 내부에 형성된 수납부에 장착되며 측면에 홈이 형성되는 수조; 상기 제습기 본체의 외부로 노출되는 제1머리와, 수조가 수납부로부터 이탈되는 것을 방지하도록 수조의 측면 방향으로 연장되어 수조에 형성된 홈에 끼워지는 제2머리와, 상기 제1머리와 제2머리의 회전중심이 되는 회전축을 구비하는 걸쇠; 상기 제2머리가 홈에 끼워지는 방향으로 탄성력을 제공하며, 회전축에 설치되는 토션 스프링을 포함하여 구성되는 제1탄성 부재; 및 상기 수조가 수납부에 장착될 때 압축되어 수조가 수납부의 외측방향으로 이동하도록 수조에 탄성력을 제공하는 복수의 제2탄성 부재;를 포함하며, 상기 제습기 본체의 외부에서 제1머리를 제1탄성 부재의 탄성력보다 큰 힘으로 누르면 제2머리가 회전축을 중심으로 회전하여 홈으로부터 이탈함으로써 수조의 고정이 해제되고 복수의 제2탄성 부재의 탄성력에 의해 수조가 수납부의 외측 방향으로 이동하고, 상기 복수의 제2탄성 부재는 짝수개의 탄성 부재로 구성되고, 상기 복수의 제2탄성 부재는, 수조의 정면에서 바라볼 때 좌우 대칭으로 수조에 탄성력을 제공하도록 구성될 수 있다”라고 설명했다.
해당 구조를 보면 일반적으로 우리가 현재 알고 있는 소형 이동식 제습기의 모양을 그대로 간직하고 있다.
직사각형 모양의 본체와 그 밑에 수조가 설치된다. 제품 윗부분에는 냉동사이클을 수행하는데 필요한 압축기, 응축기, 팽창밸브, 증발기, 흡기 팬 등으로 구성된다.
수조는 대체로 윗면이 개방된 용기형태로 냉동사이클에 의해 냉각된 실내공기로부터 생성되는 습기 또는 물방울을 포집할 수 있도록 했다. 수조는 플라스틱 재질로 사용자가 외부에서도 수조의 수위 상태를 쉽게 파악할 수 있도록 투명 재질로 이뤄지도록 했다.
해당 특허에 따른 수조에는 홈이 형성되도록 디자인 됐다. 수조의 좌우 측면에는 한 쌍의 반원 형태의 홈이 걸쇠와 쉽게 결합되도록 했다. 걸쇠는 수조의 좌우 측면에 각각 회전이 가능하게 장착되도록 했으며 수조가 제습기 본체의 수조에 장착되면, 제2탄성 부재는 수조에 의해 압축되면서 수조를 바깥방향으로 미는 힘을 축적한다. 이후 수조의 홈에 걸쇠의 제2머리가 끼워지면, 수조의 위치가 고정되면서 제2탄성 부재의 압축은 더 이상 진행되지 않게 되도록 했다.
사용자가 걸쇠의 제1머리를 누르게 되면, 홈으로부터 걸쇠의 제2머리가 빠져나오게 되면서 제2탄성 부재에 축적된 힘에 의해 수조는 제습기 본체의 바깥쪽으로 자연스럽게 이동하게 되는 원리다.
이를 통해 사용자가 수조를 제습기 본체의 바깥쪽으로 빼다가 물을 엎지르거나 또는 수조를 파손시키는 문제가 발생하는 것을 막게 된다.
특허청 담당 심사관은 “코웨이 측이 왜 해당 특허의 심사 청구를 늦게 했는지에 대해서는 알지 못한다”면서 “이런 경우는 드물다”라고 말했다.
관련기사
- [단독] '발명가 백종원', '대패삼겹살' 상표 이외에 특허·디자인도 각 2건 취득
- [단독] “사라지지 않는 일제 강점기 잔재”… 교묘하게 치욕적 이름 붙인 자생 식물 ‘며느리배꼽’ 관련 특허 등장
- [단독] “이제 ‘발명가 김병만, 발명가 유재석’이라고 불러 주세요”…김병만 단독으로 상표 2건 등록, 유재석-MBC와 상표 8건 공동 출원 ‘심사 중’
- [단독] “누수 · 바람에 날릴 걱정 이제 ‘끝’”… 현대L&C, 단독주택 지붕 시공시 고질적 불안 해결할 특허기술 개발
- [단독] “천연물로 면역력을 높인다”…강승찬 발명가의 세 번째 특허 등록 도전, 다방면에 활용 가능한 ‘식물 발효액을 이용한 식물 발효물 제조방법’ 특허 출원
- [단독] 5년간 이어진 특허소송전서 홀가분해진 골프존의 특허는?
- [단독] “보여서는 안 될 보안시설의 노출을 자동으로 막는다”…KAI, 활용도 높은 창문 시야 차단 시스템 기술 등장
- [단독] “진보성 문제로 천신만고 끝에 등록받은 특허”…한국수력원자력, 특허청 심사관의 송곳 지적에 어렵게 ‘태양광 발전 방음터널’ 제작기술 특허 취득
- [단독] “코로나19 영향에 일상화된 방역”…2% 부족한 이동식 방역 게이트 특허 등장
- [단독] ‘일거양득’…한국타이어, 소음 흡수하고 자가발전 가능한 타이어 구조에 대한 특허 취득
- [단독] “이용자 편의성 위해 진화하는 전자담배”…KT&G, '디스플레이를 포함하는 에어로졸 생성 장치' 특허 공개
- [단독] "새해 초부터 국민 건강 위협하는 미세먼지"…주목받는 현대건설의 바이러스와 유해물질 제거 ‘광플라즈마 살균·청정 환기시스템’ 특허
- [단독] “녹차 함유 플라스틱 용기로 건강과 환경 모두 지킨다”…㈜에스케이마케팅, 관련 특허 등록 받아
