원출원 거절 후 특허 등록에 재도전

[비즈월드] 최근 끽연의 대세는 전자담배이다. 국내는 물론 전 세계적으로 건강 이슈가 커지면서 피우는 궐련담배 대체용으로 전자담배의 수요가 늘고 있는 것이다.
실제로 기획재정부가 매년 발표하는 '담배시장 동향' 최근 자료를 보면 2017년 궐련형 전자담배가 국내에 도입된 후 1년여가 지난 2018년 상반기 일반담배 판매량은 2017년 대비 2.74억갑 감소했다.
반면 같은 기간 궐련형 전자담배 판매량은 1.76억갑을 기록했는데, 이는 궐련형 전자담배 출시 이후 1년여간의 일반담배 판매량 감소량의 64% 수준에 달했다.
2018년 이후에도 일반담배 판매량은 하향곡선을 그리고 있다. 2018년 일반담배 판매량은 2016년 대비 14.3% 감소했으며 2019년 16.4%, 2020년 12.4%, 2021년 상반기 13.5% 줄어들었다. 그만큼 권련형 전자담배로 수요가 이동했을 것이라는 추측이 가능해진다.
물론 가장 최선의 선택은 금연이다. 그러나 담배 제조사들은 궐련형 전자담배 이용자들의 수요를 선점하기 위해 아이디어를 짜내고 있다. 궐련형 전자담배가 전자기기 수준으로 진화를 거듭하고 있다.
현재 대부분의 궐련형 전자담배는 사용자가 전자 가열기(이하 디바이스)에 궐련형 담배형태의 에어로졸 생성 물품을 끼워 놓고 가열된 후 담배연기(이하 에어로졸)를 흡입하는 형식이다. 단순하게 보일 수 있지만 디바이스를 활용한 기술 개발이 꾸준하게 진행되고 있다.
특히 에어로졸 생성 장치를 작동함에 있어 에어로졸 생성 장치의 현재 상태에 대한 정보를 파악하는 것이 필요하다.
에어로졸 생성 장치의 상태는 예를 들어 휴식 모드, 가열 모드, 청소 모드 등이 있을 수 있으며, 필요에 따라 사용자에 의해 변경될 수 있다.
그러나 종래에는 에어로졸 생성 장치의 상태를 직관적으로 표시해주는 구성들이 결여되어 있어 사용자가 에어로졸 생성장치의 현재 상태를 파악하는 데에 어려움이 있었다.

이런 가운데 에어로졸 생성 장치의 상태를 직관적으로 표시해 사용자가 용이하게 에어로졸 생성 장치의 상태에 대한 정보를 파악하도록 하는 구성들이 에어로졸 생성 장치에 포함되도록 하는 특허가 최근 공개돼 관심을 끌고 있다. 사용자의 디자이스 조작 편의성을 향상 시킨 것은 필수다.
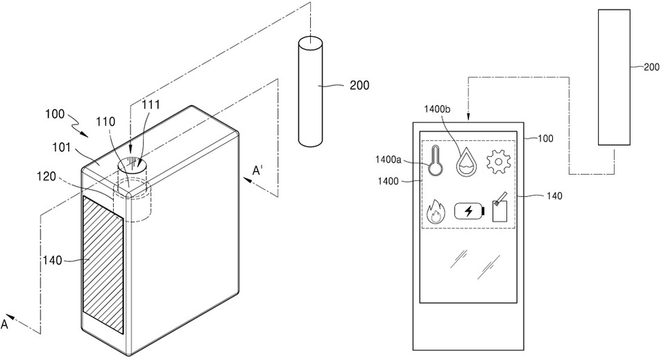
비즈월드가 확인한 결과 해당 특허는 KT&G가 2021년 10월 27일 출원(출원번호 제1020210144924호)한 ‘디스플레이를 포함하는 에어로졸 생성 장치’라는 명칭이다.
지난 11월 9일 공개(공개번호 제1020210134272호)된 해당 특허에 대해 KT&G 연구진은 “에어로졸 생성 장치는 하우징, 하우징의 일 측에 형성된 개구를 통해 에어로졸 생성 물품을 수용하는 수용부, 사용자의 신체 중 일부가 접촉하는 커버 글래스와 에어로졸 생성 장치의 인디케이터를 출력하고 사용자의 터치를 감지하는 패널과 사용자의 터치에 반응해 피드백(feedback) 신호를 생성하는 피드백 회로가 배치된 메탈 쉴드를 포함하고 하우징의 일 면에 배치되는 디스플레이 및 디스플레이의 동작을 제어하는 프로세서를 포함하고, 커버 글래스, 패널, 및 메탈 쉴드는 하우징의 내측을 향하는 방향을 따라 차례로 배치된다”라고 요약 설명했다.
이 특허는 2019년 10월 1일 출원(출원번호 제1020190121742호) 됐지만 심사과정에서 거절됐던 같은 명칭의 특허를 분할출원한 것이다.
분할출원이란 복수의 실체를 가지는 발명에 관해 하나의 출원을 한 경우, 그 출원의 내용 중 일부에 관해 출원범위를 나눠 별도로 출원을 하는 것을 말한다.
이는 최초 출원이 '1발명 1출원주의 원칙'에 위반돼 등록을 거절 받을 수 있을 경우 이용하게 된다. 또 출원자가 출원 당시 생각하지 못했다가 나중에 스스로 처음 출원을 여러 출원으로 분할하고 싶을 때 이용하기도 한다.
다시 특허 등록에 도전해 2021년 10월 27일 심사를 청구한 해당 특허의 도면을 보면 전자담배라기 보다는 작은 웨어러블 기기에 유사한 모양을 하고 있다.
궐련형 전자담배가 일체형으로 구성된 디바이스의 앞면에는 흡용자의 신체 중 일부가 접촉하는 커버 글래스와 에어로졸 생성 장치의 인디케이터를 출력하고 사용자의 터치를 감지하는 패널과 사용자의 터치에 반응해 피드백(feedback) 신호를 생성하는 피드백 회로가 배치된 메탈 쉴드가 자리 잡도록 구성했다. 기본 도형은 직사각형 박스형태로 투박해 보이지만 외형은 언제든지 곡선형태로 만들어 질 수 있다.
디바이스 외측에 구비된 디스플레이에는 에어로졸 생성 장치의 외부의 온도 또는 습도와 연동된 인디케이터를 출력하도록 제어할 수 있도록 했고 프로세서는 센서에 의해 센싱된 에어로졸 생성 물품의 물성에 기초해 디바이스의 제원을 인식하고 표시하도록 했다.
사용자는 디바이스 커버 들래스를 통해 발광, 오디오 출력, 진동 등의 형식으로 원하는 동작의 시작과 끝 여부를 확인하는데 주머니속에서 등의 오작동을 막기 위해 여러개의 압력 센서도 구비되도록 했다.
이 디바이스에는 인덕턴스 센서, 압력 센서, 경도 측정 센서(푸쉬풀게이지, pushpullgage), 저항측정 센서, 이미지 센서, 정전용량 측정 센서 등이 포함된다.
디바이스 표시창(인디케이터 indicator)을 통해 전자담배의 가열, 현재 디바이스의 온도는 물론 궐련형 전자담배의 남은 가능 흡입량과 디바이스의 전력량, 디바이스 청소 통보 등을 쉽게 확인할 수 있게 된다.
KT&G 연구진은 해당 발명품이 사용화 되면 사용자는 디스플레이가 출력하는 인디케이터를 터치함으로써 각 인디케이터와 연동된 에어로졸 생성 장치의 정보들을 직관적으로 파악할 수 있고 이를 바탕으로 에어로졸 생성 장치의 작동 모드들을 용이하게 변경할 수 있다고 설명했다.
또 디바이스의 디스플레이는 사용자의 터치를 압력에 따라 구분할 수 있어 궐련형 전자담배의 사용 편의성이 증가할 수 있어 전자담배를 보다 효율적으로 사용할 수 있다고 강조했다.
앞서 설명한 것처럼 건강을 위한 최선의 선택은 금연이다. 그러나 담배를 끊을 수 없다면 보다 편리하고 효율적으로 흡연하고 지나친 금연을 경고하는 방법도 탑재된다면 금연을 위한 차선책이 될 수 있을 것이다.
[비즈월드=정영일 기자 / zprki@bizwnews.com]
관련기사
- [단독] “기존 수직형 풍력발전기의 단점 보완”…㈜파미르, 풍향의 영향받지 않고 저소음 고효율의 풍력발전장치 특허 취득
- [단독] “‘군사용 드론’, 장거리 이동의 한계 극복”…㈜한화, 작전 반경 넓히는 드론 탑재 발사체 관련 특허 취득
- [단독] “마스크, 한 번 쓰고 버리기는 아깝고~”…한국콜마-가디뷰이, 마스크에 직접 분무해 항균·소취 기능 주는 천연 조성물 특허 취득
- [단독, 글로벌 IP] ‘2020년 미국 특허등록 전 세계 상위 100개 대학’ 1위는 美캘리포니아大…카이스트·고려대, 26·30위에 랭크
- [단독] “사용자의 편의성을 높이는 것도 신기술의 역할”…코웨이, 상업화 이미 적용된 제습기 물통을 쉽게 뺄 수 있는 특허, 출원 7년 만에 등록
- [단독] “보다 편리하고 정확하게”…심전도를 이용한 바이오피드백 장치 및 제어방법에 대한 특허기술 등장
- [단독] “녹차 함유 플라스틱 용기로 건강과 환경 모두 지킨다”…㈜에스케이마케팅, 관련 특허 등록 받아
- [단독] “제약사가 포장상자 제조 특허를 취득?”…동진제약, 충격에 강하고 내용물 보호하는 상자 제조 특허 등록
