
[비즈월드] 비즈월드는 지난 9월 17일 특허법인 테헤란의 협조를 얻어 게재한 ‘[친절한 IP] 특허등록 요건’ 중 마지막 네 번째 글에서 ‘발명의 진보성’에 대해 설명했다.
발명의 진보성에 대한 법 조항은 특허법 ‘제2장 특허요건 및 특허출원’ 제29조(특허요건) 제②항 ‘특허출원 전에 그 발명이 속하는 기술분야에서 통상의 지식을 가진 사람이 제1항 각 호의 어느 하나에 해당하는 발명에 의하여 쉽게 발명할 수 있으면 그 발명에 대해서는 제1항에도 불구하고 특허를 받을 수 없다’에 명시되어 있다.
여기서 제1항의 각 호란 ‘1. 특허출원 전에 국내 또는 국외에서 공지(公知)되었거나 공연(公然)히 실시된 발명 2. 특허출원 전에 국내 또는 국외에서 반포된 간행물에 게재되었거나 전기통신회선을 통하여 공중(公衆)이 이용할 수 있는 발명’이다.
다시 말해 신규하더라도 진보성이 낮으면 특허를 줄 수 없다는 의미이다. 새로운 발명이지만 기술분야의 어떤 사람이 조금 개량해서 도출 할 수 있는 수준이라면, 진보성이 없다고 판단되어 특허등록을 받을 수 없다는 뜻이기도 하다.
동일성을 극복했다는 사정만으로 특정인에게 독점배타권을 주기에는 무리가 있기 때문에 특허청 심사관은 진보성을 추가로 요구한다.
통상의 지식을 가진 사람(관계업자)가 개된 기술로부터 쉽게 발명할 수 있다면 특허를 줄 수 없다는 뜻으로 가장 핵심은 ‘쉽게 발명할 수 있으면’이다.
이런 가운데 최근 이같은 발명의 등록요건을 잘 설명한 사례가 확인됐다.
한국수력원자력㈜가 2019년 7월 2일 출원(출원번호 제1020190079472호)해 지난 9월 13일 등록(등록번호 제102303806호)을 받은 ‘태양광 발전 방음터널’이라는 명칭의 특허가 그것이다.
해당 특허는 얼핏 보면 이미 상용화된 기술의 복사판이다.
일반적으로 자동차 전용도로나 철도 등에서는 자동차와 기차가 움직일 때 적지 않은 소음이 발생해 도로나 철도 주변에 거주하는 주민들은 소음 공해에 고통을 호소한다. 이 때문에 도로나 철도 등을 설계할 때 소음기준을 엄격하게 적용하고 해당 소음기준을 만족시키기 위해 다양한 종류의 방음벽 또는 방음터널 등을 설치하고 있다.
이와 함께 최근에는 방음터널을 만들면서 에너지 활용의 목적으로 태양광 패널을 방음터널에 외벽에 부착하는 것이 보편화 됐다. 실제로 이런 사례는 고속도로 인근 등에서 어렵지 않게 찾아볼 수 있다.
종래의 방음터널은 구조물 위에 방음을 위한 격벽재료(유리판 또는 투명 플라스틱판)가 설치되고, 격벽재료 위에 태양광 패널을 지지하는 구조물이 추가로 설치되는 이중 구조로 이뤄진다.
한국수력원자력의 이번 등록 특허도 이전 기술과 크게 다르지 않다. 다만 기존의 이중 구조로 구성된 종래의 태양광 발전 방음터널은 전체 중량이 매우 크고, 설치비용이 높으며, 제작 및 시공성이 낮다는 문제를 해결하겠다는 과제 해결보다는 태양광 패널(전지판)의 설치 방법과 각도로 인해 어렵게 특허 등록에 성공할 수 있었다.
해당 특허는 출원 후 특허청 심사관으로부터 소위 두 차례나 ‘퇴짜’를 맞았다. 이 특허기술이 진보성이 결여됐기 때문이다.
결국 한국수력원자력 측은 거절이유에 대한 의견서와 보정서, 재심사 보정서 그리고 다시 의견서를 내야 했다.
그 과정에서 당초 출원서 게재된 총 8개의 청구항 중 1, 2, 3항과 6, 8번 항 5개 항이 무더기로 삭제된 후에야 겨우 등록을 받았다.
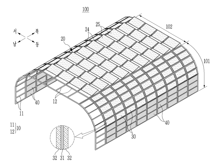
유지된 청구항은 청구항 제4항 ‘서로 이격된 한 쌍의 수직형 프레임 구조물과, 상기 한 쌍의 수직형 프레임 구조물의 상단을 연결하는 수평형 프레임 구조물을 포함하는 기본 구조체; 및 상기 수평형 프레임 구조물에 결합되어 상기 수평형 프레임 구조물과 함께 방음터널의 덮개부를 구성하고, 남쪽을 향하도록 배치되는 복수의 격벽-태양광 모듈을 포함하며, 상기 복수의 격벽-태양광 모듈 각각은, 평탄부와 경사부를 서로 이웃하게 일체형으로 구비한 금속 프레임과, 상기 평탄부에 고정된 제1 방음격벽과, 상기 경사부에 고정된 제1 태양광 패널을 포함하여 방음 기능과 태양광 발전 기능을 동시에 행하며, 상기 경사부와 상기 제1 태양광 패널은 남쪽을 향하도록 배치되고 상기 수평형 프레임 구조물에 대해 5˚ 내지 45˚의 경사각을 가지고, 상기 한 쌍의 수직형 프레임 구조물의 상측부는 안쪽을 향해 굽은 형상으로 이루어지며, 상기 기본 구조체의 길이 방향은 남북 방향과 나란하고, 상기 한 쌍의 수직형 프레임 구조물의 상측부에 결합된 복수의 제2 태양광 패널과, 상기 한 쌍의 수직형 프레임 구조물의 하측부에 결합된 복수의 제2 방음격벽을 더 포함하며, 상기 제1 태양광 패널 및 상기 제2 태양광 패널 각각은, 한 쌍의 강화유리판과, 상기 한 쌍의 강화유리판 사이에 배치된 태양전지판을 포함하는 태양광 발전 방음터널’이라는 부분이다.
또 청구항 제5항 ‘서로 이격된 한 쌍의 수직형 프레임 구조물과, 상기 한 쌍의 수직형 프레임 구조물의 상단을 연결하는 수평형 프레임 구조물을 포함하는 기본 구조체; 및 상기 수평형 프레임 구조물에 결합되어 상기 수평형 프레임 구조물과 함께 방음터널의 덮개부를 구성하고, 남쪽을 향하도록 배치되는 복수의 격벽-태양광 모듈을 포함하며, 상기 복수의 격벽-태양광 모듈 각각은, 평탄부와 경사부를 서로 이웃하게 일체형으로 구비한 금속 프레임과, 상기 평탄부에 고정된 제1 방음격벽과, 상기 경사부에 고정된 제1 태양광 패널을 포함하여 방음 기능과 태양광 발전 기능을 동시에 행하며, 상기 경사부와 상기 제1 태양광 패널은 남쪽을 향하도록 배치되고 상기 수평형 프레임 구조물에 대해 5˚ 내지 45˚의 경사각을 가지고, 상기 한 쌍의 수직형 프레임 구조물의 상측부는 안쪽을 향해 굽은 형상으로 이루어지며, 상기 기본 구조체의 길이 방향은 동서 방향과 나란하고, 상기 한 쌍의 수직형 프레임 구조물 중 남쪽을 향해 위치하는 하나의 수직형 프레임 구조물에 결합된 복수의 제2 태양광 패널과, 북쪽을 향해 위치하는 다른 하나의 수직형 프레임 구조물에 결합된 복수의 제2 방음격벽을 더 포함하며, 상기 제1 태양광 패널 및 상기 제2 태양광 패널 각각은, 한 쌍의 강화유리판과, 상기 한 쌍의 강화유리판 사이에 배치된 태양전지판을 포함하는 태양광 발전 방음터널’이라는 문구가 살아남았다.
청구항 제7항은 ‘서로 이격된 한 쌍의 수직형 프레임 구조물과, 상기 한 쌍의 수직형 프레임 구조물의 상단을 연결하는 수평형 프레임 구조물을 포함하는 기본 구조체; 및 상기 수평형 프레임 구조물에 결합되어 상기 수평형 프레임 구조물과 함께 방음터널의 덮개부를 구성하고, 남쪽을 향하도록 배치되는 복수의 격벽-태양광 모듈을 포함하며, 상기 복수의 격벽-태양광 모듈 각각은, 평탄부와 경사부를 서로 이웃하게 일체형으로 구비한 금속 프레임과, 상기 평탄부에 고정된 제1 방음격벽과, 상기 경사부에 고정된 제1 태양광 패널을 포함하여 방음 기능과 태양광 발전 기능을 동시에 행하며, 상기 경사부와 상기 제1 태양광 패널은 남쪽을 향하도록 배치되고 상기 수평형 프레임 구조물에 대해 5˚ 내지 45˚의 경사각을 가지고, 상기 기본 구조체의 길이 방향은 동남-북서 방향 또는 남서-북동 방향과 나란하며, 상기 수평형 프레임 구조물은 동서 방향 및 남북 방향과 나란하게 설치되며, 상기 한 쌍의 수직형 프레임 구조물의 상측부는 안쪽을 향해 굽은 형상으로 이루어지며, 상기 한 쌍의 수직형 프레임 구조물 중 남쪽을 향해 위치하는 하나의 수직형 프레임 구조물 전체와 다른 하나의 수직형 프레임 구조물의 상측부에 설치된 복수의 제2 태양광 패널과, 다른 하나의 수직형 프레임 구조물의 하측부에 설치된 복수의 제2 방음격벽을 더 포함하며, 상기 제1 태양광 패널 및 상기 제2 태양광 패널 각각은, 한 쌍의 강화유리판과, 상기 한 쌍의 강화유리판 사이에 배치된 태양전지판을 포함하는 태양광 발전 방음터널’등이다. 이들 3개의 청구항만이 이 특허의 존재가치를 부여했다.
해당 발명의 효과에 대해 한국수력원자력 연구진은 “본 발명에 의한 태양광 발전 방음터널은 기본 구조체를 이루는 수평형 프레임 구조물 위에 복수의 격벽-태양광 모듈을 조립 설치한 구성으로 이루어진다. 따라서 태양광 발전 방음터널은 무게가 가볍고, 모듈화에 따라 제작성과 시공성이 뛰어나며, 설치 비용을 저감할 수 있다. 또 태양빛이 제1 태양광 패널에 최대한 수직하게 입사하므로 발전 효율을 높일 수 있다”라고 설명했다.
이 특허의 등록 과정을 살펴보면서 진짜 발명다운 발명에 독점적 권리를 주기 위해 6건의 선행특허를 꼼꼼하게 비교한 해당 심사관의 노고와 오랜 시간 노력해 얻어낸 결과를 버리지 않고 인정받으려는 한국수력원자력 연구진의 ‘창과 방패’ 싸움이 얼마나 치열하게 전개되었는가를 엿볼 수 있었다.
관련기사
- [친절한 IP] 특허등록 요건④…발명의 ‘진보성’이란?
- [단독] “‘군사용 드론’, 장거리 이동의 한계 극복”…㈜한화, 작전 반경 넓히는 드론 탑재 발사체 관련 특허 취득
- [단독] “마스크, 한 번 쓰고 버리기는 아깝고~”…한국콜마-가디뷰이, 마스크에 직접 분무해 항균·소취 기능 주는 천연 조성물 특허 취득
- [단독] “사용자의 편의성을 높이는 것도 신기술의 역할”…코웨이, 상업화 이미 적용된 제습기 물통을 쉽게 뺄 수 있는 특허, 출원 7년 만에 등록
- [단독] 고려제약 '컴파운드 K 및 데커시놀 유효성분 활용' 특허로 치매 예방·치료 조성물 개발 앞당겨
