2차 오염 방지 및 유지보수 비용 대폭 절감 효과

[비즈월드] 각종 산업현장에서 운영 업체들의 대표적인 과제 중 하나는 필연적으로 발생하는 환경 오염물질을 어떻게 잘 정화해 배출하느냐이다.
정부는 물론 지자체와 민간단체들까지 환경문제에 민감하게 반응하고 있고 이런 트렌드는 국제적이기도 하다.
대기오염의 주요 원인으로 화석연료를 사용하는 산업용 보일러 및 화력발전소와 각종 소각로 등에서 발생하는 분진, 탄화수소, 황산화물(SOX), 질소산화물(NOX) 등 다양하지만 그중 SOX와 NOX가 환경 규제의 집중 대상이 되고 있다.
석탄이나 석유와 같은 화석 연료의 연소 시에 발생하는 황산화물(SOX)은 다른 대기 오염물질과 달리 연료에 포함되어 있는 황의 함유량에 따라 배출량이 결정되는 것이 특징이다. 황산화물에는 SO2 및 미량의 SO3로 구성되어 있고 배출 때 산성비, 스모그 등의 대기 오염을 유발한다.
이런 황산화물 배출 저감 방법 중 가장 범용적으로 사용되는 것은 배연탈황설비이며, 흡수, 흡착, 산화, 환원 등의 원리를 이용해 연소 후 배기가스에 포함되어 있는 황산화물를 제거한다. 국내 대형 화력발전소에 주로 적용된 기술은 석회석-석고 습식 배연탈황법으로 상업적으로 가장 완성단계에 있는 기술로 평가되고 있다.
석회석-석고 습식법은 물 또는 알칼리성용액의 흡수제를 이용해 공기중의 황산화물를 흡수해 알칼리성분과 반응해 생성된 슬러지를 탈수처리 및 부산물인 석고를 생산하는 방법으로 90%이상의 높은 효율을 가진다.
반면 탈황 설비의 가동에 의해 반응·생성되는 슬러리에는 부식성 물질이 매우 많고 경질의 고체 입자들이 다량 포함되어 있어 슬러리를 이송하는 펌프류, 배관류에는 공식, 침식, 부식, 마모 등의 손상이 발생된다.
이중 스로트 부시(throat bush)는 탈황 흡수탑 재순환 펌프의 부품으로 통상 2년 주기로 교체되는 소모성 부품으로 부품 단가가 높고 수급에 장시간 소요 되고 있어 원가 절감과 안정적 공급 방안 마련이 필요하다.
일반적으로 집진기는 기체 속에 포함된 고체 또는 액체의 미립자를 모아서 제거하는 장치로, 최초에는 보일러의 연소가스 속에 함유된 재의 미립자를 제거하는데 사용되었지만 최근에는 공장 등에서 발생되는 매연(이하 '배기가스')에 유해물질이 포함되어 대기 중으로 배출되는 것을 방지하기 위해 설치되고 있다.
집진기에는 중력에 의한 것, 여과에 의한 것, 관성 및 원심력에 의한 것, 음파를 이용하는 것, 세정에 의한 것 등과 같이 배기가스에 포함된 유해물질을 제거하는 방법에 따라 다양하게 실시되고 있다.
이 중에서 세정에 의한 집진기는 스크러버(scrubber)라고 불리는데, 스크러버는 화학공장 이외에 일반적인 공장, 극장 등의 공기정화에 널리 사용되는 것으로 크게 건식과 습식으로 구분된다.
습식 스크러버는 건식 스크러버에 비해 상대적으로 유해물질의 제거 효율이 더 높은 것으로 알려져 있다.
우리나라의 대표적인 고부가가치산업인 반도체 디스플레이 제조 공정에서 배출되는 배기가스에는 다량의 먼지와 액적(Aerosol)이 포함되며 이를 처리하기 위해 습식스크루버에 다단의 패킹층을 두고 세정수를 분무해 처리하고 있다.
하지만 배기가스의 먼지 및 액적이 세정수와 혼합되어 점성을 가진 액적이 형성된다. 이 액적이 패킹층에 달라붙어 세정수로 제거가 되지 않아 설비의 차압이 발생하고 내벽에 달라붙은 슬러지의 원활한 배출이 되지 않아 빈번한 청소주기와 드레인 배관이 막히는 문제로 운영 효율이 떨어지고 있다.
일반적으로 파티클이 포함된 유해 배기가스 기존 처리 방식은 다음과 같다. 습식 필터 전처리를 설치하고 주처리 완료 전단이나 후단에 습식전기집진기를 두어 처리하는 설비이다. 습식전기집진기는 전극에 전기를 걸어 발생된 코로나 방전에 의해 음이온이 발생되고 이 음이온은 상태가 불안전해 주위에 떠다니는 먼지입자와 붙어 안정화하려고 한다.
이 먼지 입자는 음이온화되어 플러스극을 띠는 그라운드된 집진판으로 이동하게 되는데, 집진판에 수막을 형성시켜 이 세정수와 함께 파티클을 제거한다. 습식전기집진기는 집진판에 DRY 되는 곳 없이 전체적으로 도포가 되어야 효율이 매우 높고 BEAD가 발생되지 않지만 먼지의 부착성 때문에 잦은 청소 및 빈번한 고장, 고전압에 의한 전기적 안전성의 문제로 화재의 위험성이 높아 관리측면에서 골칫거리가 된다.
게다가 세정수조에 pH 조절 약품(즉, 중화제)을 주입하므로 세정수 배출 때 다량의 약품도 같이 배출되어 약품 소모량이 많아지고 수평 구조의 습식 배기가스 정화 장치의 경우, 배기가스의 풍향과 세정수 분사노즐의 분사 방향이 90도 방향으로 교차하기 때문에 풍속에 의해 세정수가 습식 배기가스 정화 장치의 외부로 비산하여 2차 오염을 일으킨다는 문제점도 있다.

이를 해결할 수 있는 기술이 특허를 받아 냈다. 비즈월드 확인 결과 삼성엔지니어링㈜가 2020년 6월 9일 출원(출원번호 제1020200069833호)한 ‘습식 배기가스 정화 장치 및 습식 배기가스 정화 방법’이라는 명칭의 기술이 그것이다. 해당 기술을 특허청으로부터 2020년 11월 27일 등록(등록번호 제102186319호)을 받아냈다.
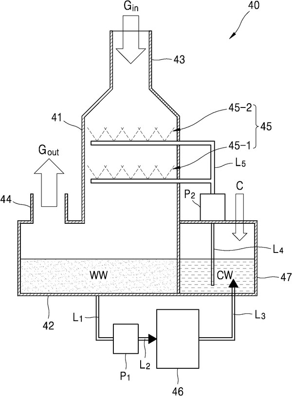
삼성엔지니어링 연구진은 해당 특허에 대해 “습식 배기가스 정화 장치 및 습식 배기가스 정화 방법이 개시된다. 개시된 습식 배기가스 정화 장치는 본체, 배기가스의 입구, 적어도 하나의 세정수 분사노즐 및 클린가스의 출구를 포함하는 논패킹 습식 배기가스 정화 장치로서, 상기 습식 배기가스 정화 장치는 배수조, 상기 배수조로부터 배출된 배수 중의 입자를 제거하도록 구성된 오토스트레이너, 상기 세정수 분사노즐의 분무압을 조절하도록 구성된 노즐 분무압 조절수단, 상기 세정수 분사노즐의 분무량을 조절하도록 구성된 노즐 분무량 조절수단 및 상기 배기가스의 공급속도를 조절하도록 구성된 가스속도 조절수단을 포함한다”라고 설명했다.
일반적으로 배기가스 처리 때 장치의 차압 상승문제를 해결하기 위해 충진재, 다공판 및 필터와 같은 기액 접촉 촉진 부재를 채용하지 하지 않는 대신에 장치 내부에서 배기가스와 세정수의 접촉 기회를 높여 유해가스 제거 효율을 향상시키기 위해 배기가스 흐름 방향과 세정수 분사 방향을 반대방향으로 설정하고, 세정수를 상향으로 분사하도록 구성된다.
또 세정효율을 더욱 향상시키기 위해 각 노즐별 커버리지를 확인해 데드존이 없도록 최적 간격으로 노즐을 배치한다.
삼성엔지니어링 연구진은 노즐 분무압과 가스유속의 상관관계를 최초로 파악해 최적의 운전조건 범위를 찾아내어 세정효율을 향상시켰으며, 노즐 막힘 현상을 개선하고자 배수조와 세정수조를 분리하고 오토스트레이너로 배수내 입자를 제거한 후 세정수조로 공급하도록 장치를 구성했다.
특히 습식 배기가스 정화 장치는 배기가스(Gin)가 하방으로 유입되고, 세정수(CW)도 일단 상방으로 분사되었다가 결국에는 하방으로 낙하하도록 구성되기 때문에, 세정수(CW)가 습식 배기가스 정화장치의 외부로 비산해 2차 오염이 발생하는 문제점도 해결했다.
또 습식 배기가스 정화 장치는 기액 접촉 촉진 부재 및 데미스터를 포함하지 않고도 오염물질의 제거효율이 높기 때문에, 구조가 간단하고, 제조비용이 낮으며, 주기적인 세정이 필요 없어 유지보수를 위한 시간 및 비용까지 절감할 수 있다는 장점이 있다.
이와 함께 습식 배기가스 정화 장치는 논패킹 구조의 특성상 장치 자체의 막힘이 없어 입자가 많이 발생하는 공정에서의 빈번한 청소로 인한 장치 운전 중단을 최소화할 수 있으며, 배수조와 세정수조를 분리하고 오토스트레이너를 적용해 배수내 입자를 제거하도록 구성됨으로써 노즐 막힘 현상으로 인한 세정효율 저하 요인을 해결했다.
이 특허 기술은 이밖에 배수조와 세정수조를 분리하고 세정수조에만 중화제를 첨가해 배수조로부터 배수 배출 때 배수와 함께 중화제가 배출되지 않도록 함으로써 중화제 소모량을 줄이고 오토스트레이너로 노즐 막힘을 방지해 노즐 입경을 줄여 노즐 분무압을 높일 수 있어서 적은 물량에서도 높은 처리 효율이 가능하다.
이 발명의 다른 구현예는 아예 충진재 및 필터를 사용하지 않는 습식 배기가스 정화 방법을 제공할 수 있는 것으로 나타났다.
삼성엔지니어링 연구진은 “이번에 특허를 취득한 습식 배기가스 정화 장치는 2차 오염 방지는 물론 충진재 및 필터를 포함하지 않아 구조가 간단하고 제조비용이 낮으며 주기적인 세정이 불필요해 유지보수를 위한 시간 및 비용을 절감할 수 있다”면서 “IT 산업 공정의 배출 가스뿐만 아니라, 화공 플랜트, 발전 플랜트 등의 배기가스를 제거하기 위한 모든 습식 스크러버에 범용적으로 사용될 수 있다”라고 설명했다.
관련기사
- [단독] 코로나시대, 다중 이용시설의 자동 방역을 위한 시스템 특허 등장
- [단독] “국민 생명·재산 구하는 소방차 등의 출동을 원활하게"…㈜사라다 등, ‘긴급 차량을 위한 도로 정보 제공 장치 및 방법’ 특허 취득
- [단독] “치적 홍보에 정신줄 놔버린 조폐공사?”…지재권 출원/등록 구별도 못 하고 ‘자화자찬’
- [단독] 고부가가치 산업 ‘표고버섯 재배’…LED 이용한 특허 스마트팜 기술로 '제한적 재배 환경 극복'
- [단독] “늘어난 전동킥보드, 안전사고도 빈발”…속도·도로상태·장애물 여부 등 감지해 알려주는 특허 기술 등장
- [단독] "코로나19 '감염경로 불명' 확진자 10명 중 3명"…광범위한 국민 감염병 진단을 위한 대안 특허기술 등장
- [단독] “없는 등급 표시하면 돋보이나?”…특허청, 부패방지 시책평가에서 ‘최우수’ 등급이라고 치장
- [단독] “한국 원산지 ‘돌콩’, 우수 천연 화장료 원료로 대변신”…한국콜마, '돌콩 추출물 포함하는 천연 화장료 조성물' 특허 취득
- [단독] “낙지다리와 복분자의 환상조합"…한국콜마, ‘낙지다리·복분자 추출물 함유 피부 보습용 화장료 조성물’ 특허 취득
- [단독] “금융자동화의 사각지대 해소”…고령자 등을 위한 안면인식 기술 활용 STM 화상상담 방법 특허 등장
- [단독] 온리핏, 안다르 상대 ‘airfit(에어핏)’ 상표권 심판 제기…말 많은 해당 상표, 벌써 다섯 번째 소송
