
[비즈월드] 코로나19로 인해 세계보건기구(WHO, World Health Organization)는 지난 2020년 3월 11일, '코로나19 팬데믹'을 선언했다. 그로부터 이미 10개월(322일)이 훌쩍 지나갔지만, 이 바이러스의 위세는 꺾일 줄 모르고 있다.
오히려 전 세계적으로 코로나19 확진자가 빠르게 늘어나고 있다. 국제 통계 사이트 월드오미터 집계 결과 26일 기준으로 코로나19로 인한 전 세계 누적 사망자 수는 214만4000명을 넘어섰으며, 누적 확진자 수는 1억1만명에 이르고 있다.
이는 지난해 세계은행(WB)이 추계한 세계 인구가 76억7353만3000여명인 것에 비춰보면 지구촌 전체 인구 100명 중 1.3명(1.3%)가 코로나19에 감염되어 있있거나 감염된 된 적이 있는 것이다.
세계에서 감염자가 가장 많이 나온 나라는 미국으로 이날까지 2573만4000여명이 확진 판정을 받았고 이 가운데 42만9000여명이 숨졌다.
이어 인도가 확진자 1067만7000여명(사망자 15만3000여명)으로 2위, 브라질이 확진자 885만여명(사망자 21만7000여명)으로 3위로 집계됐다.
러시아(확진 373만8000여명, 사망 6만9000여명), 영국(확진 366만9000여명, 사망 9만8000여명), 프랑스(확진 305만7000여명, 사망7만3000여명), 스페인(확진 263만3000여명, 사망 5만5000여명), 이탈리아(확진 247만5천000여명, 사망 8만5000여명), 터키(확진 243만5000여명, 사망 2만5000여명), 독일(확진 215만2000여명, 사망 5만3000여명)이 뒤를 잇고 있다.
코로나19 바이러스의 재생산 지수는 과거 메르스와 사스 바이러스 보다도 훨씬 더 높은 5.7을 나타내고 있다. 국가별 차이는 있지만 미국, 이탈리아, 프랑스, 스페인 등에서 5.7로 확인되고 있다.
이는 메르스는 물론 사스 바이러스 보다도 훨씬 더 전염력이 강함을 나타내고 있으며, 변이 코로나19 바이러스 출현으로 또다시 대유행해 큰 피해를 줄 것으로 예상되고 있다.
세계 각국의 정부가 코로나19 바이러스의 확산을 차단하기 위해, 사회적 거리 두기를 실천해 확산이 차단되고 방역에 성공을 거두는 듯 보였지만 밀폐된 공간의 다중이용 시설 즉 종교 시설, 강당, 영화관, 체육관 등을 통해 코로나19 바이러스가 다시 확산되는 조짐을 보이고 있다.
실제로 국내의 경우 지난 1월 24일 대전의 무인가 종교 교육시설인 IEM국제학교에서 120여 명이 무더기로 확진 판정을 받아 제2의 신천지 혹은 BTJ열방센터 사태로 확대될까하는 우려에 방역 당국에 비상이 걸렸다.
이런 코로나19 바이러스의 주요 감염 경로는 비말, 확진자와의 직·간접적인 접촉 등에 의한 감염이기 때문에 중앙정부 및 지방자치단체에서는 사람들이 많이 모이는 거리나 다중 이용 시설 및 전통 시장 등을 중심으로 방역하고 있다.
그러나 이는 코로나19 바이러스를 실질적으로 방역하는데 한계가 있다. 이에 따라 다중 이용 시설을 이용하는 사람들에게는 마스크 착용과 손 소독을 할 것을 권장하고 있고, 다중 이용 시설의 방역은 대부분 전문 방역업체에 의존해 방역하고 있다.
그러나 다중 이용 시설의 방역은 비용 문제로 한 달에 한 번 정도 방역하거나 또는 확진자가 다녀간 후에 방역이 이루어지게 됨으로써 코로나19 바이러스의 전파를 차단하는데는 한계가 따른다.
이런 가운데 한 국내 제약사가 이런 집단시설의 방역 한계점을 극복하기 위한 기술을 개발해 눈길을 끈다.
㈜나투어카슨제약은 2020년 6월 17일 출원(출원번호 제1020200073559호)한 ‘생활방역 안전 운영 시스템’이라는 명칭의 특허로 그해 12월 14일 등록(등록번호 제102193104호)을 받았다.
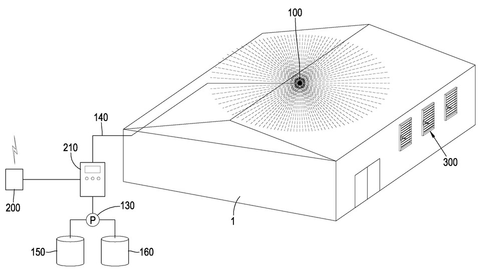
해당 발명은 생활방역 안전 운영 시스템에 관한 것으로, 사람들이 이용하는 시설물에 구비되어 방역 약품을 분사하는 ‘분사장치’와 이 분사장치와 공급라인으로 연결되어 방역 약품을 분사장치로 소정 압력(고압 또는 중압 또는 저압)으로 공급하는 ‘공급펌프’, 공급펌프 및 분사장치를 원격 또는 현장 제어에 의해 방역 약품이 분사장치를 통해 자동 분사되도록 제어하는 ‘제어부’, 시설물에 구비되어 시설물 내에 사람의 존재 유무를 감지하고 이의 감지신호를 제어부로 출력해 제어부가 방역 약품의 분사를 제어하므로 사람이 분사되는 방역 약품에 직접 노출되지 않도록 제어하는 ‘적외선 감지센서’ 등으로 구성된다.
해당 발명은 다중 이용 시설 및 필요 시설을 사용 전과 사용 후 등 주기적으로 방역하고 이와 더불어 주기적으로 환기시켜 줌으로써 해당 다중 시설 및 필요 시설을 이용한 이용자의 감염은 물론 이용자에 의한 바이러스, 세균 등의 전파를 사전에 방지할 수 있다고 개발업체 측은 설명했다.
미국이나 영국 등에 비해 코로나19 백신 접촉이 늦었지만 우리나라도 2월부터 전국민 대상 백신 접종을 시작해 11월에는 집단 면역이 이뤄 질 수 있도록 한다는 방침이다.
전 세계인의 보편적 생활을 빼앗아간 코로나19 사태가 신기술의 계속적인 등장으로 하루 빨리 종식시키는 역할을 하길 바란다.
관련기사
- [단독] “국민 생명·재산 구하는 소방차 등의 출동을 원활하게"…㈜사라다 등, ‘긴급 차량을 위한 도로 정보 제공 장치 및 방법’ 특허 취득
- [단독] “치적 홍보에 정신줄 놔버린 조폐공사?”…지재권 출원/등록 구별도 못 하고 ‘자화자찬’
- [단독] 고부가가치 산업 ‘표고버섯 재배’…LED 이용한 특허 스마트팜 기술로 '제한적 재배 환경 극복'
- [단독] “늘어난 전동킥보드, 안전사고도 빈발”…속도·도로상태·장애물 여부 등 감지해 알려주는 특허 기술 등장
- [단독] "코로나19 '감염경로 불명' 확진자 10명 중 3명"…광범위한 국민 감염병 진단을 위한 대안 특허기술 등장
- [단독] 삼성엔지니어링㈜, 생산성은 높이면서 배기가스는 더 줄일 수 있는 습식정화장치 기술 특허 취득
- [단독] “없는 등급 표시하면 돋보이나?”…특허청, 부패방지 시책평가에서 ‘최우수’ 등급이라고 치장
- [비즈헬스] 정부, 다음 달 코로나19 의료진부터 백신 접종 개시…11월 전 '집단면역' 목표
- [단독] “한국 원산지 ‘돌콩’, 우수 천연 화장료 원료로 대변신”…한국콜마, '돌콩 추출물 포함하는 천연 화장료 조성물' 특허 취득
- [단독] “낙지다리와 복분자의 환상조합"…한국콜마, ‘낙지다리·복분자 추출물 함유 피부 보습용 화장료 조성물’ 특허 취득
- [단독] 온리핏, 안다르 상대 ‘airfit(에어핏)’ 상표권 심판 제기…말 많은 해당 상표, 벌써 다섯 번째 소송
