공동주택 초고층·고기밀·고단열·대형화… 새 환기 시스템 필요
실내 환기장치, 효율적 강제 환기 안정적이고 편리하게 공급
[비즈월드] 인공지능과 사물인터넷을 통해 일상의 편리함을 구현한 ‘스마트홈(Smart home)’이 이제 주택시장에서 디폴트로 적용되고 있다. 더 이상 낯선 개념이 아니게 된 스마트홈은 시간과 공간의 제약 없이 주택의 에너지·보안·안전을 통제할 수 있어 거주자의 삶의 질을 크게 높여준다. 더 쉽고, 더 빠르고, 더 편리한 것을 원하는 소비자의 욕구에 따라 나날이 발전하고 있는 건설업계의 스마트홈 기술을 비즈월드가 소개한다. [편집자 주]

최근 공동주택 변화의 키워드는 초고층·고기밀·고단열·대형화 등이다. 여기에 영향을 받아 주거용 냉방·환기 시스템 적용이 점차 확대되고 있다.
아파트 전용면적이 넓어지고 커튼월 구조로 냉방부하가 커지면서 냉방설비가 필수조건이 됐다. 또 초고층 건물은 임의로 창문을 열 수 없고 기밀성도 높아 자연 환기를 기대할 수 없어 기계 환기가 적용된다.
변화한 공동주택에 맞춰 주거용 냉방·환기 시스템 적용되고 있지만 문제점도 있다.
송풍기를 이용한 환기 방식은 강제 배기가 필요하고 항상 최대 출력으로 가동하게 돼 전기세가 많이 나온다. 또 과도한 풍량에서 발생하는 소음이 실내로 전달되는 불쾌함도 있다.
주방에 집중된 환기도 어려워 음식을 조리할 경우 온 집안이 음식 냄새로 가득하고 빼내기도 어렵다.

일상에 쾌적함을 가져다줄 주거용 냉방·환기 시스템이 필요한 상황에서 GS건설(대표 임병용)이 효율적인 강제 환기를 안정적으로 제공하는 실내 환기장치를 개발하고 특허 취득에 성공한 것으로 확인됐다.
29일 비즈월드가 특허정보검색서비스 키프리스를 통해 확인한 결과, GS건설의 ‘건물의 실내 환기장치’는 지난 2018년 3월 출원(출원번호 제1020180030151호)돼 2019년 12월 특허(등록번호 제102058286호)로 등록됐다.
실내 환기장치는 각 세대에 설치돼 외기를 공급받아 강제로 환기한다. 사용자 조작에 따른 맞춤형 운전이 가능하다. 열교환기를 통해 실내로 공급되는 외기의 풍량을 마음대로 조절할 수 있다.
또 주방으로 외기를 집중하는 주방 환기 모드로 작동할 수 있어 주방 환기 효율이 높다. 상황에 따라서는 열교환 없이 신속하게 외기를 공급할 수 있다.
열교환기 내부에서 생성되는 응축수 수거도 쉽다. 응축수를 열교환기 아래쪽에 배치되는 수거실로 수거하고 일정량 이상 수거되면 검출 신호를 보내는 식이다.

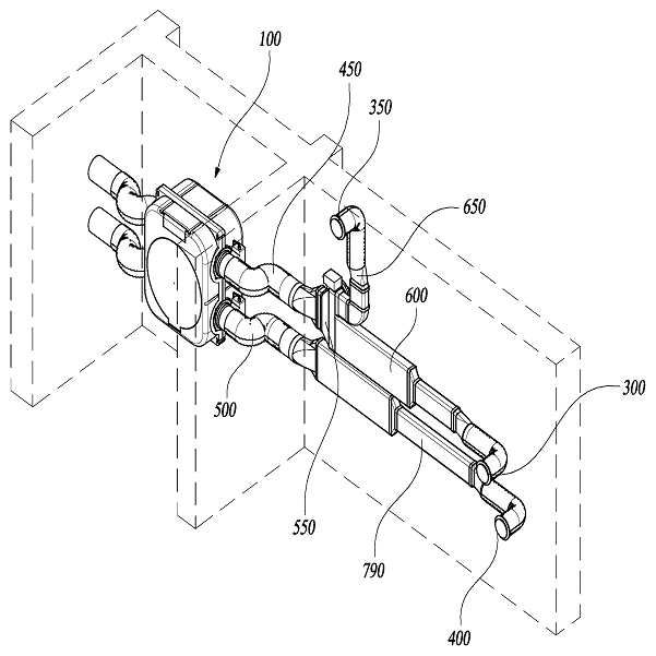
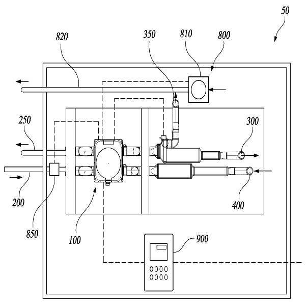
실내 환기장치는 크게 ▲외기 공급기 ▲실내 환기장치 ▲열교환기 등으로 구성된다.
외기 공급기는 각 세대에 설치되는 실내 환기장치와 연결되도록 옥상·지하실 등에 설치돼 외기를 공급한다. 외기 공급기는 외기를 강제 송풍하기 위한 송풍기, 외기를 여과할 수 있는 필터, 외기를 가열할 수 있는 히터, 외기를 냉각할 수 있는 냉각기 등으로 구성된다. 필요에 따라 외기를 여과·가열·냉각해 실내 환기장치에 공급한다.
실내 환기장치는 열교환기와 외기 공급기를 통해 외기를 공급받아 실내에 배출한다. 주방 배기장치와 환기 조절기도 구성으로 포함된다. 주방 집중 환기도 가능하다. 실내 유로를 차폐한 상태에서 주방 유로를 개방하면 외기가 전량 주방으로 유입되는 식이다.
열교환기는 각 세대로 공급되는 외기와 각 세대에서 배출되는 실내공기를 열교환 한다. 이를 위한 열교환유닛과 응축수를 검출하는 검출기, 실내공기를 바이패스(공기가 열교환 없이 필터만 거치는 기능. 냉난방이 필요하지 않은 날씨에 사용) 시키는 덕트 등으로 구성된다.
실내 환기장치의 작동 방식은 이렇다. 세대에서 환기 조절기를 통해 환기에 필요한 외기량을 설정하면 외기 공급기로부터 외기가 유입관을 통해 실내 환기장치의 열교환기로 공급된다. 공급된 외기는 열교환유닛의 실내공기 배출 유로를 통과하는 실내공기와 열교환하며 실내공기로부터 현열·잠열을 회수한다. 열교환유닛을 통과한 외기는 열교환기를 빠져나와 실내 유입 덕트를 통해 실내 또는 주방에 공급된다.
GS건설 관계자는 “회사의 실내 환기장치는 실내로 공급되는 외기의 풍량을 임의로 조작할 수 있어 사용자 맞춤형 환기 운전이 가능하다”며 “변화하는 주거 공간에 따르는 기술개발로 입주민 삶의 질을 높여나갈 것”이라고 말했다.
[비즈월드=나영찬 기자 / na@bizwnews.com]
관련기사
- [스마트홈 특허] 삼성물산, ‘항바이러스 청정제습시스템’ 엘리베이터 홀 제균·청정·제습·냉방 한방에
- [스마트홈 특허] DL이앤씨, 어느 벽에나 붙여 쓰는 ‘무선 스위치’로 간편히 조명 제어
- [스마트홈 특허] 호반건설, 주차장 빈 곳부터 대피 경로까지 찾아주는 ‘주민안전 시스템’ 개발
- [스마트홈 특허] DL이앤씨, 실내 감염병 전파 막을 ‘안티바이러스 전열교환기’ 개발
- [스마트홈 특허] 한화 건설부문, ‘누수 감지 시스템’으로 주택 침수 피해 막는다
- [스마트홈 특허] DL이앤씨, 딥러닝으로 구현한 ‘가상센서’로 난방 시스템 관리 효율↑
- [스마트홈 특허] 현대건설, ‘주방+실내 환기 시스템’으로 집안 공기를 쾌적하게
- [스마트홈 특허] 포스코이앤씨, 주차 위치 알리미 ‘지능형 주차 관리시스템’ 개발
- [스마트홈 특허] GS건설, 난방수 똑똑하게 공급하는 ‘최적 유량 난방시스템’ 개발
- [스마트홈 특허] DL이앤씨, 지하주차장 최적화 구현 ‘자동 설계 방법’ 개발
