[비즈월드] #1. 5월 22일 중국 관영매체 CCTV와 인민일보 등 현지 매체에 따르면 지난 21일 오후 9시48분 윈난성 따리주(州) 양비현(縣)에서 규모 6.4의 지진이 발생해 3명이 사망하고 28명이 다쳤으며 가옥과 생산 설비 등이 심각한 손상을 입었다.
#2. 윈난성에 2개 주(州)와 4개 현, 21개 향(鄕)에서 8만1000명의 이재민이 발생했다. 190채의 가옥이 붕괴됐고 1만4020채의 가옥이 파손됐다. 구조대에 따르면 이날 양비현에서 매몰된 한 여자이가 성공적으로 구조돼 병원에서 치료를 받고 있다.
#3. 멕시코 수도 멕시코시티에서 지난 5월 3일(현지시간) 오후 10시 30분쯤 고가철도가 무너져 고가를 지나던 지하철이 추락했다. 사고 직후 전해진 피해 상황은 최소 20명 사망에 70명 부상이었으나 구조·수색 작업이 진행되면서 피해 규모는 계속 늘어나고 있다.
#4. 중국의 한 금광에서 폭발사고로 노동자 22명이 매몰된 지 일주일 만에 12명의 위치가 확인됐다. 글로벌타임스 등 중국매체에 따르면 구조당국은 지난 5월 17일 오후 사고가 난 산둥성 치샤시의 금광 갱도 아래에서 노동자들이 두드리는 소리를 확인하고, 매몰 위치까지 시추공을 뚫고 밧줄로 보급품을 내려보냈다.
#5. 올해 1월 15일 새벽 2시 28분 술라웨시섬 서부 마무주 남쪽 36km 지점에서 규모 6.2의 강진이 발생해 40여 명이 숨지고 수백 명이 다쳤다. 지금까지 피해가 가장 큰 지역은 마무주로 최소 26명이 숨졌고 건물 잔해에 매몰된 사람이 많아 앞으로 사망자가 더 늘어날 것으로 예상하고 있다.
#6. 터키 당국이 지난 2020년 10월 30일 발생한 강진으로 매몰된 생존자의 수색 작업을 종료한다고 11월 4일(현지시간) 밝혔다. 터키 재난위기관리청(AFAD) 등 터키 재난 당국이 건물 잔해에서 구조한 생존자는 107명으로, 마지막 구조자는 지진 발생 91시간 만에 구조된 아일라(4) 게즈긴 양이다.

최근 지구촌에서 발생한 수 많은 자연재해와 인재로 발생한 사고들이다. 각종 사고 소식 가운데 희망과 안타까움을 주는 소식이 있다면 그것은 건물 붕괴 등으로 매몰된 생존자의 구조나 사망 소식이다.
우리나라의 경우 2016년 개봉한 하정우·배두나·오달수 주연의 재난 영화 ‘터널’이 매몰사고 현장의 모습을 생생하게 재현해 호평을 받았다.
최근 전국의 소방서에서 매몰자 구조를 위한 훈련을 하는 이유가 여기에 있다.

이런 가운데 최근 한국로봇융합연구원이 이색 발명품을 내놔 관심을 끌고 있다.
매몰자 있는 좁은 공간에 뱀 모양의 로봇을 투입해 생존을 위한 물, 죽 등을 공급하고 골든타임을 확보, 구조까지의 시간을 벌 수 있도록 하는 것이다.
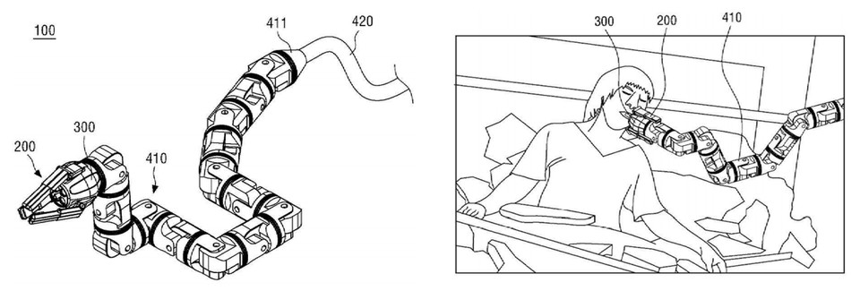
해당 기술은 한국로봇융합연구원과 부경대학교 산학협력단이 공동으로 2019년 11월 26일 특허를 출원(출원번호 제1020190153270호)해 지난 5월 11일 등록(등록번호 제102252700호)을 받은 ‘바퀴 부착 뱀형 로봇’이라는 명칭이다.
이번 발명은 산업통산자원부의 ‘붕괴지역 매몰자 탐지구조를 위한 협소 공간 탐색 로봇기술 개발’, 국립재난안전연구원의 ‘재난안전로봇 현장 활용성 증진을 위한 지원 기술 개발’ 연구과제로 선정돼 지원을 받았다.
해당 발명에 대해 연구진은 “본 발명은 바퀴 부착 뱀형 로봇에 관한 것이다. 복수의 모듈을 연결한 몸통부로 구성된 뱀 로봇에 있어서 복수의 모듈 간의 연결지점 및 이격거리 중 적어도 하나의 변화를 기초로, 몸통부의 길이 및 형태 중 적어도 하나가 변화되고, 변화되는 몸통부의 길이 및 형태 중 적어도 하나를 이용해 뱀 로봇은 이동 가능하다. 또 복수의 모듈 중 일단인 제1 모듈과 타단인 제2 모듈 각각에는 바퀴가 구비되고 복수의 바퀴는 지면과 접촉되지 않도록 지면으로부터 이격돼 일단 및 타단에 구비될 수 있다”라고 요약 설명했다.
이 특허에서 주목한 부분은 이 로봇의 핸드(robot hand)이다. 로봇 핸드는 복수의 손가락에 의해서 물체를 구속 또는 이동시키는 기계의 손을 의미한다. 로봇 암(arm)이 넓은 작업 영역 내에서의 대체적인 위치 결정을 하는 데 반해 로봇 핸드는 한정된 영역 내에서의 미세한 조작이나 물체의 파악을 하는데 이용된다.
이런 인공지능 및 로봇기술은 다양한 분야에 활용이 확산 중이며 제조환경에서의 부품파지 및 조립의 핸들링 기술돌파(Breakthrough)를 위한 핵심기술로 활용되고 있다.
로봇 핸드는 지진이나 폭설, 화재, 폭우, 산사태 등 다양한 재난상황으로 건물 붕괴 때 협소 공간에 진입해 매몰자의 위치 및 상태를 파악하고 골든타임을 연장하는 로봇에 접목해 사용할 수 있다.
기존에는 덩굴형(vine-type) 형태의 로봇이 개발된 사례가 있으나 전진만 가능하고 후진이 불가능하고 1회 투입 후 재사용성이 좋지 않아 여러 곳에서 반복적인 투입을 요구하는 탐지, 구조 임무 활용에는 부적합하다는 문제점이 있었다.
또 기존의 선행 개발된 기술들은 협소 공간 이동·정찰 기능에만 중점을 두어 활용성이 떨어진다는 문제점도 있다.
실제로 한국기술교육대학교 산학협력단이 2016년 1월 22일 출원(출원번호 제 1020160007854호)했지만 등록을 거절 받은 ‘가변의 특성을 이용한 재난 구조로봇’ 기술이나 개인 발명가가 2016년 3월 29일 출원(출원번호 제1020160037824호)했지만 역시 등록이 거절된 ‘재난현장용 로봇’ 등은 건물이 붕괴된 좁은 공간을 이용하기에는 부적합한 부분이 있었다.
결국 생존자의 골든 타임을 연장하려면 매몰자를 찾는 각종 센서를 탑재해 이동하는 기능 이외에 이런 문제점을 해소할 수 있도록 응급 약물 및 영양 주스 등을 공급할 수 있는 기능 등을 구비한 로봇에 대한 니즈가 높아지고 있다.
몸통 마디마다 별도의 추진 장치가 구비돼 뱀처럼 구부러질 수 있는 이 로봇에는 헤드 부분에 카메라가 장착돼 사고 현장 밖에서 원격으로 조정이 가능하고 자이로 센서와 가속도 센서, 압력 센서, 촉각 센서 등이 장착돼 로봇의 상태를 조정자가 잘 파악할 수 있도록 했다.
또 로봇 헤드에는 외부로부터 호수가 연결돼 매몰자에게 직접 물이나 죽 등을 공급할 수 있도록 구비되며 로봇이 합치될 수 있도록 했다.
연구진은 이 뱀형 로봇은 좁고 위험한 산업현장 및 재난환경에서 작업이 가능해 안전 점검, 협소 지역탐색 및 작업에 대한 시간과 비용을 줄일 수 있고 모듈화 된 본체는 양산화에 수월한 측면이 있다고 설명했다.
또 목적에 맞는 다양한 센서 모듈들을 교체 운용해 재난 현장에서의 인명 탐지가 가능하며 건물 잔해물 등에 깔려 있는 매몰자가 팔이나 다리를 움직일 수 없는 경우에도 영양 주스 공급을 통해 골든타임을 연장할 수 있다.
특히 이 로봇은 테러 때 사회안전용 로봇 및 위험물 탐지를 위한 군사용 로봇 등 다양한 분야에 활용 가능하다고 설명했다.
관련기사
- [글로벌 IP] 日 유니클로, 현지 중기 대상 특허권 무효 소송에서 패소 ‘망신살’
- [단독] 올해 국민 혈세 833억 투입된 ‘한국발명진흥회’, 월 1만4500원 미납해 치적 홍보했던 '발명특허웹진' 운영 중단
- [단독] 치과 치료 환자의 건강 상태를 바로 확인하는 ‘똑똑한 진료의자’ 특허 등장…2016년 출원된 바디프랜드의 특허와 유사
- [단독] “안에서 새는 바가지 믿을 수 있나?”…지식재산 컨트롤타워 역할한다는 ‘국가지식재산위원회’의 허접한 홈페이지 운영
- [단독] "하세월 서버 교체에 이용자 분통 터지게 하는 홈플러스", 홈플퀴즈 27일 문제는 제대로 출제되나?
- [단독] ‘의정부 경전철 파산’ 흑역사 간직한 GS건설, 관련사업 재개 노리나?
- [단독] “작은 차이가 주는 큰 효과”… 한샘, 선행 특허 단점 보완 ‘자외선 LED 이용한 주방용 칼 살균블록’ 특허 취득
- [단독] “의료현장 근무자라면 한 번쯤 생각해 봤을 불편함을 줄였다”…착용 쉽고 감염위험 없는 ‘의료용 가운’ 특허 등장
- [단독] “삼성엔지니어링, 중대재해법 대안 마련”…국내외 작업장 위험 상태 확인·안내하는 시스템 특허 기술 개발
- [단독] “천연물로 면역력을 높인다”…강승찬 발명가의 세 번째 특허 등록 도전, 다방면에 활용 가능한 ‘식물 발효액을 이용한 식물 발효물 제조방법’ 특허 출원
- [단독] “웃는 얼굴 분석만으로 뇌졸중을 조기에 발견한다”…가천대, ‘뇌졸중 정도의 진단을 위한 얼굴 이미지 분석 방법 및 시스템’ 특허 취득
