
[비즈월드] 영화 ‘스파이더맨’을 모르는 국민은 없을 것이다. 건물 벽에 달라붙어 자유롭게 이동하고 악당들을 혼내주는 활약하는 모습을 보면서 대리만족을 느껴 남녀노소 누구나 좋아한다.
이런 스파이더맨을 보고 있자면 무척이나 부러워할 사람들이 있다. 바로 건물 등의 강도를 주기적으로 측정하는 시설물유지관리업에 종사하는 사람들일 것이다. 밧줄에 매달려 크고 높은 구조물에서 하루 종일 위험한 일을 해야 하기 때문이다.
일반적으로 콘크리트 건축물의 반발 경도 시험은 콘크리트의 압축강도를 비파괴로 추정하는 방법의 하나로 경화된 콘크리트 표면을 타격할 때 측정 반발도(R)와 콘크리트의 압축강도(Fc)와의 사이에 특정 상관관계가 있다는 실험적 경험을 기초로 한다.
여러 가지 비파괴 강도 추정식이 제시되어 있지만 추정식의 다양만큼 비파괴 강도가 일정하게 얻어지는 것이 아니므로, 코어 표본의 압축 강도를 구해 이 측정 값과 반발도와의 상관관계를 구하는 것이 우선 되어야 한다.
콘크리트 표면의 경도로부터 콘크리트의 비파괴 강도를 추정하는 방법으로 그 시험방법, 적용 가능한 강도범위, 판정식 및 판정의 평가 방법에 대한 고려가 비파괴강도를 판정하는 과정에서 필요하다.
콘크리트의 비파괴 검사의 일종인 반발 경도법은 콘크리트의 표면을 슈미트 해머로 타격하여, 콘크리트 표면의 반발경도를 측정하는 것으로, 이런 반발경도법은 경화 콘크리트면을 타격할 때 반발경도와 콘크리트 압축강도 사이에 특정 상관관계가 있다는 실험적 경험을 기초로 이루어진다.
일종의 비파괴 검사인 슈미트 해머에 의한 반발경도 시험방법은 매우 간편하고 국제적으로 표준화되어 많이 사용되고 있으며, 콘크리트의 압축강도에 대한 여러가지 비파괴 시험방법 중에서 시험실 및 철근 콘크리트 건축물 현장 등의 내력 조사에 효과적이고 간편하면서도 가장 폭넓게 적용할 수 있는 방법으로 알려져 있다.
슈미트 해머는 스프링식 해머로서, 콘크리트 표면의 파인 직경을 측정하는 대신에 스프링의 반발하는 힘을 해머의 눈금으로부터 직접 알 수 있어서 콘크리트 구조체의 내부 강도를 간단하게 측정하는데 이용되고 있다.
여기서 슈미트 해머를 이용한 콘크리트 반발경도를 측정하는 종래의 방법을 보면 측정 대상의 콘크리트 표면에 가로방향을 따라 각 3㎝의 간격을 두고 평행한 수평선 4개를 분필과 자를 이용해 그린 다음, 수평선과 직교하도록 세로방향을 따라 각 3㎝의 간격을 두고 수직선 5개를 그려줌으로써 각 수평선 및 수직선의 직교점(20개점)에 슈미트 해머를 대고 콘크리트 구조체 내부의 강도를 측정하게 된다.
그러나 콘크리트 구조체의 강도를 측정할 때마다, 3㎝간격의 5×4개의 직교된 직선을 그리는 것은 작업상 매우 번거롭고, 측정 시간이 너무 오래 걸리게 되는 원인이 되고 있다.
즉 강도를 측정하고자 하는 콘크리트 구조체마다 일정간격을 두고 3㎝간격의 5×4개의 직교된 직선을 그린 다음, 그 교차점에 슈미트 해머를 대고 콘크리트의 강도를 측정하고, 다시 3㎝간격의 5×4개의 직교된 직선을 그리는 것을 반복해야 하므로, 측정 작업의 효율성이 떨어지고 측정 시간이 너무 오래 걸리는 문제점이 있다.

이런 가운데 에스큐엔지니어링㈜가 ‘드론을 활용한 타격장치에 의한 타력측정 및 이를 이용한 콘크리트 구조물의 강도 및 물성 측정시스템’이라는 명칭의 특허를 2020년 8월 24일 출원(출원번호 제1020200105930호)해 지난 5월 4일 등록(등록번호 제102250490호)를 받은 것으로 나타났다.
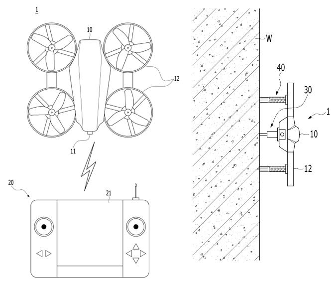
이 특허의 핵심은 드론을 이용한 콘크리트 구조물의 경도 측정장치에 관한 것으로, 무인 비행체인 드론과 수직의 벽과 천장을 주행할 수 있는 RC카의 구조와 기능을 접목해 교각이나 댐과 같이 규모가 큰 구조물의 경도를 안전하게 측정할 수 있도록 한 콘크리트 구조물의 경도(강도) 및 물성 측정장치에 관한 것이다.
물론 이전에도 드론을 활용한 경도 등을 측정하는 기술을 있었다.
공개특허 제1020160052238호, 공개특허 제1020160056671호, 등록특허 제101617411호, 등록특허 제101625634호 등이 그것이다.
해당 특허기술들은 회전날개(rotor)를 기관으로 회전시켜 발생하는 양력으로 비행하는 것으로서, 운용자의 조작신호를 무선으로 받아 수동으로 운용되는 것이 일반적이다.
그러나 이처럼 무인비행체를 이용해 시설물의 상태를 검사할 때 해당 무인 비행체는 시설물과 일정거리를 유지하는 상태에서 비행이 이뤄지는 관계로 무인 비행체에 탑재된 영상장비를 통해 시설물 표면을 촬영 때 그 이미지가 선명하게 촬영되지 못하고, 이에따라 촬영된 이미지를 통한 시설물 상태 분석에 상당한 어려움이 있었다.
게다가 무인 비행체를 무선 조정해 시설물에 근접시킨다 하더라도, 그 근접거리는 어느 정도의 거리가 유지되어야 하는 것이며, 따라서 무인 비행체의 영상장비를 통해 시설물 표면을 촬영 때 그 촬영된 이미지에서는 시설물에 대한 파손이 심한 경우에는 쉽게 분석할 수 있지만, 경미한 파손이나 균열의 경우에는 촬영된 이미지에 파손이나 균열이 제대로 나타나지 않는 경우가 많아 자세한 확인이 불가능하다는 단점이 있다.
또 종래 무인 비행체를 활용한 기술의 경우에는 숙련된 검사자에 의해 비행 궤적을 자유롭게 무선 조종이 가능하지만, 바람이나 GPS 수신 여부 등 외부적인 조건에 영향을 받아 숙련된 조종기술이 필요하고, 무인 비행체의 영상장비를 통해 시설물의 벽면이나 천정면을 촬영 때 시설물의 모소리 등 촬영 영역이 제한적일 수밖에 없으며, 시설물과 충돌 때 사고의 위험이 따르게 돼 이를 보완하기 위해 검사자가 직접 육안으로 확인할 수밖에 없다.
반면 에스큐엔지니어링의 새로운 기술은 다수의 전자 부품과 그 전자 부품에 의해 동작이 제어되는 기계 부품이 내부에 설치되며 GPS가 장착된 본체와 촬영방향의 회동이 자유자재한 영상 촬영부가 구비된다. 해당 드론 본체 내부에 구비된 기계, 전자 부품에 의해 회전 방향이 정·역방향으로 제어되는 로터에 의해 외관이 형성되는 드론에 콘크리트 구조물의 표면을 타격하는 슈미트 햄머(Schmidt Hammer)를 장착하게 된다. 드론에 장착된 컨트롤러는 이 타격 장치가 타격한 부위의 경도를 측정해 디지털 데이터로 환산하는 디스플레이 창에 표시되고 해당 데이터가 저장되도록 했다.
해당 발명이 상용화되면 콘크리트 구조체로 이루어진 교각이나 댐과 같이 규모가 큰 구조물의 경도를 인력을 대신해 안전하게 측정할 수 있도록 함으로써 작업 근로자들의 근로환경을 개선하고 그에 따라 안전사고를 미연에 방지하는 효과를 주게 된다.
또 무인 비행체인 드론과 수직의 벽과 천장을 주행할 수 있는 RC 카의 구조를 접목해 교각이나 댐과 같이규모가 큰 구조물에서 특히 인력으로 검사하기 어려운 수직의 벽체나 천장의 경도를 안전하게 측정할 수 있게 되며 무인 비행체인 드론과 수직의 벽과 천장을 주행할 수 있는 RC카의 구조를 접목해 개선한 로봇 주행체에 슈미트 해머를 포함하는 타격장치를 장착해 교각이나 댐과 같이 규모가 큰 구조의 콘크리트 구조물을 타격하며 발생하는 반발력 및 타격음에 의해 콘크리트 구조물의 경도를 안전하게 측정할 수 있는 효과도 있게 된다.
