카메라 촬영한 사물의 관련 정보는 스마트워치 디스플레이에 제공

LG전자가 자사의 차세대 스마트워치에 떼고 붙일 수 있는 모듈형 카메라를 장착하는 특허를 해외에서 공개해 주목을 받고 있습니다.
비즈월드가 미국 특허상표청(USPTO) 자료를 검색한 결과 LG전자는 2018년 말, ‘스마트워치의 제어방법’에 대한 특허를 공개했습니다.
이 특허는 국내에서 2015년 11월 30일 출원(출원번호 10-2015-0168586)됐으며 2017년 6월 8일 공개됐습니다. 미국에서는 2016년 1월 15일 출원(출원번호 15771296)됐으며 2018년 12월 20일 공개됐습니다.
이 특허가 관심을 끄는 것은 스마트워치 본체가 아닌, 밴드에 카메라 모듈을 탑재하는 기술이 담겨 있기 때문입니다.
필요에 따라 떼거나 부착하는 등 고정된 것이 아니기 때문에 자유롭게 움직일 수 있어 사용자는 카메라 각도 조절을 위해 손목을 움직일 필요가 없습니다.
또 메탈 밴드 일부를 떼어내 카메라 모듈을 삽입하거나 카메라 모듈을 집게 형태로 제작해 밴드에 고정하는 방식을 제공합니다.

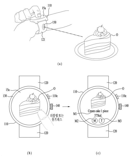
사진을 촬영하고 스마트워치 디스플레이에서 결과물을 확인하는 것은 물론 관련 정보를 보여주는 서비스를 지원한다. 특정 제품을 촬영하면 해당 제품에 대한 영양정보가 가격 등 상세정보가 스마트워치의 디스플레이 창에 표시되는 방식입니다. 물론 바코드 및 QR코드 인식도 가능하고 최저가를 확인해 구매도 바로 할 수 있습니다.
스마트워치에 카메라를 도입한 사례는 있었습니다. 하지만 밴드에 모듈형 카메라를 장착한 제품은 아직 출시되지 않았습니다. LG전자가 해당 특허 기술을 스마트워치에 적용하면 세계 최초가 됩니다.
한국지식재산연구원에 따르면 세계 웨어러블 기기 시장의 규모는 연평균 11% 증가세를 보이고 있습니다. 2018년에는 2017년에 비해 8.5% 상승한 약 2억만 대의 웨어러블 기기 판매량을 기록했으며 이중 스마트워치는 58.2%를 차지했습니다.
현재 전 세계 스마트워치 시장의 점유율은 애플이 44.1%, 핏비트(Fitbit)가 15.2%, 삼성전자가 10.5%를 차지하고 있는 것으로 알려져 있습니다.
